КАП 61

Чертеж изделия:
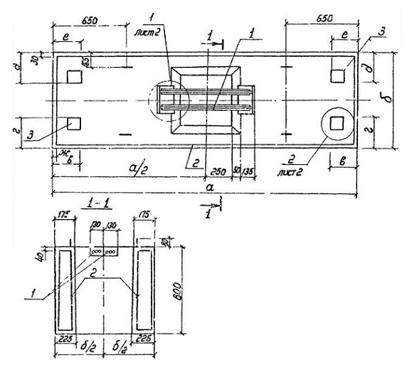
Чертеж КАП 61
Характеристики изделия:
ПараметрЗначение
Длина3200 мм
Ширина750 мм
Высота800 мм
Масса4500 кг
Нормативный документСерия 3.702.1-4

Капитель бетонная КАП 61 по Серии 3.702.1-4.